🚁 В России представили прототип дрона с перцовым модулем Беспилотник предназначен для охраны порядка, голосового оповещения с воздуха и отпугивания...

🚁 В России представили прототип дрона с перцовым модулем

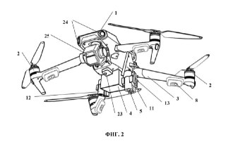
Беспилотник предназначен для охраны порядка, голосового оповещения с воздуха и отпугивания агрессивных животных.

Что входит в оснащение:
• снизу — перцовый модуль с несколькими стволами (не менее 4);
• сверху — громкоговоритель для предупреждений;
• по лучам — проблесковые маячки;
• на каждом стволе — лазерный прицел.

@zelenogradlive

Комментарии
Присоединяйтесь к обсуждению и поделитесь своим мнением
Читать комментарии

Добавить комментарий

Закрытый Telegram-канал Зеленограда

То, о чем не пишут в СМИ
Подписывайтесь на наш закрытый ресурс, где мы публикуем только главные и самые резонансные события без лишнего шума.
Телеграф 18+